Mogelijkheden voor een gebruiker
Auteursrecht. Persoonlijkheidsrechten. Licentie beeldmateriaal Google Earth software strekt niet uit tot gebruik van beeldmateriaal daaruit. Mzoem slaagt niet in bewijzen dat licentie gebruik van luchtfoto's in folders Stichting Groene Hart toestaat.
Aerodata produceert aardobservatiebeelden (luchtfoto's), een deel kan via Google Earth geraadpleegd worden door licentieovereenkomst met Google. Door opname in één geheel, vallen geen individuele opnames te onderscheiden. Mzoem reclamebureau heeft in opdracht van Stichting Groene Hart folder ontworpen met gebruikmaking van luchtfoto's. Licentie Google Earth Pro software.
Beroep op fair use-bepalingen uit licentie wordt verworpen. Foto's zijn voorzien van copyright notice van Aerodata en het auteursrecht van derden wordt in de Permission Guidelines van Google Earth ook expliciet genoemd. Van goede trouw is geen sprake: afgaan op algemene (technische) informatie zonder zich vooraf van de licentievoorwaarden te vergewissen, is een omstandigheid die voor risico van gedaagden dient te blijven.
Winstderving, schadevergoeding en buitengerechtelijke kosten. €325 per luchtfoto en 300% additionele vergoeding. Nu Aerodata geen proceskosten ex artikel 1019h Rv heeft gevorderd, zal de rechtbank aansluiting zoeken bij het liquidatietarief.
Licentievoorwaarden 4.12. De toepasselijke licentievoorwaarden zijn door Mzoem c.s. niet in het geding gebracht. De wel overgelegde ‘Use of Software terms and Conditions’ van Google, hiervoor vermeld onder 2.16, zien op gebruik van software en niet op gebruik van het middels deze software van de website Google Earth te downloaden beeldmateriaal, zodat daaruit evenmin toestemming voor gebruik van het beeldmateriaal kan worden afgeleid.
4.13. De rechtbank komt dan ook tot de conclusie dat uit de door Mzoem c.s. overgelegde stukken niet blijkt dat Mzoem c.s. op grond van de Google Earth Pro licentie toestemming had van Google om de luchtfoto’s te gebruiken voor de folders.
4.15. Mzoem c.s. stelt te zijn afgegaan op de tekst van de website hiervoor vermeld onder 2.7. Naar het oordeel van de rechtbank bevat die tekst echter slechts algemene informatie over (technische) mogelijkheden voor een gebruiker van Google Earth Pro. Dat Mzoem c.s. stelt te zijn afgegaan op deze informatie zonder zich vooraf van de licentievoorwaarden te vergewissen, is een omstandigheid die voor risico van Mzoem c.s. dient te blijven.
Schadevergoeding 4.26. Voor het begroten van de schade wegens het zonder toestemming openbaar maken van de luchtfoto’s knoopt de rechtbank aan bij de vergoeding die Aerodata bedongen zou kunnen hebben, indien haar toestemming voor het gebruik van de luchtfoto’s zou zijn gevraagd (de gederfde licentievergoeding). Aerodata heeft onweersproken gesteld dat zij een vergoeding van € 325,-- per luchtfoto zou hebben kunnen bedingen. Het verweer van Mzoem c.s. dat zij inmiddels 26 vergelijkbare luchtfoto’s van een derde heeft verkregen tegen een vergoeding van € 2.300,-- zodat bij dit bedrag dient te worden aangeknoopt, faalt. Uitgegaan dient te worden van de door Aerodata geleden schade en niet bestreden is dat haar gebruikelijke tarief voor gebruik van een foto door een derde in vergelijkbare gevallen € 325,-- bedraagt. De rechtbank wijst dan ook een bedrag van € 13.000,-- (40 x € 325,--) aan gederfde licentievergoeding toe.
Additionele schade 4.27. Voor toekenning van de door Aerodata gevorderde additionele vergoeding van 300% van haar gebruikelijke vergoeding voor het publiceren zonder toestemming en zonder naamsvermelding zoals volgens haar in de fotografie branche gebruikelijk is, bestaat geen ruimte. Dat een dergelijke richtlijn in de fotografie branche wordt toegepast heeft Aerodata onvoldoende nader onderbouwd en er bestaat evenmin een wettelijke grondslag voor het opleggen van een dergelijke verhoging, die naar het oordeel van de rechtbank het karakter van een boete heeft.
Schade naamsvermelding 4.28. Dit betekent niet dat Aerodata geen recht heeft op vergoeding van schade die zij heeft geleden door het niet vermelden van haar naam. Aerodata heeft een economisch belang bij een naamsvermelding, in verband met het vergroten van haar naamsbekendheid en het binnenhalen van eventuele nieuwe opdrachten. Tot de geleden schade draagt bij dat plaatsing van een foto zonder naamsvermelding de kans vergroot dat ook derden de foto zonder betaling van een licentievergoeding zullen gebruiken. De rechtbank begroot de schade wegens het ontbreken van een naamsvermelding, rekening houdend met deze omstandigheden ex aequo et bono op een bedrag van € 6.500,--

Even voor jezelf lezen. Octrooirecht.
Even voor jezelf lezen. Stukgelopen samenwerking. Onrechtmatig handelen. Slaafse nabootsing transportbanden. Functioneel en gebruikseisen van een transportband. Met specifieke maat en koppeldelen is er de facto onderscheid van het Umfeld, daarmee nog geen onderscheidend vermogen. Opheffing derdenbeslag. Afwijzing vorderingen in conventie. Reconventionele vordering Geen toewijzing vorderingen obv misbruik van procesrecht. (meer illustraties in vonnis)
Met dank aan Milica Antic,
In navolging van LJN
In navolging van IEF
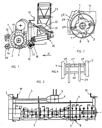
4.13. Vast staat dat in 2005 in Nantes een field topmaker is getoond voorzien van steunplaten met daarop gelijktijdig gemonteerd frees- en verticuteermessen. Dat gelijktijdige montage niet zou werken vanwege de kap, zoals GKB cs stelt, wordt gelogenstraft door de afbeelding op haar eigen site; de verticuteermessen in gemonteerde staat blijven in combinatie met de freesmessen onder de kap.
4.22. Niet is bestreden dat GKB cs na de beëindiging van de samenwerking gedurende zekere tijd is doorgegaan met het op de markt brengen van dezelfde machines met hantering van dezelfde merken als voorheen (woord- en woordbeeldmerken KORO en de machinenamenmerken). Nu zij bovendien geen merkinbreuk erkent en evenmin onvoorwaardelijk toezegt dat in de toekomst te zullen laten, behoudt Koro belang bij toewijzing van een merkinbreukverbod als in het dictum verwoord.
In navolging van IEF